Hyundai Sonata LF: Emission Control System / Exhaust Emission Control System

Hyundai Sonata LF 2014-2019 Service Manual / Emission Control System / Exhaust Emission Control System

Description and Operation

Description
Exhaust emissions (CO, HC, NOx) are controlled by a combination of engine modifications and the addition of special control components.
Modifications to the combustion chamber, intake manifold, camshaft and ignition system form the basic control system.
These items have been integrated into a highly effective system which controls exhaust emissions while maintaining good drivability and fuel economy.
Air/Fuel Mixture Control System [Multiport Fuel Injection (MFI) System]
The MFI system uses signals from the heated oxygen sensor to activate and control the injector installed in the manifold for each cylinder, thus precisely regulating the air/fuel mixture ratio and reducing emissions.
This in turn allows the engine to produce exhaust gas of the proper composition to permit the use of a three way catalyst. The three way catalyst is designed to convert the three pollutants [hydrocarbons (HC), carbon monoxide (CO), and oxides of nitrogen (NOx)] into harmless substances. There are two operating modes in the MFI system.
1.
Open Loop air/fuel ratio is controlled by information programmed into the ECM.
2.
Closed Loop air/fuel ratio is adjusted by the ECM based on information supplied by the oxygen sensor.

Catalytic Converter Description and Operation

Description
The catalytic converter of the gasoline engine is a three way catalyst. It oxidizes carbon monoxide and hydrocarbons (HC), and separates oxygen from the oxides of nitrogen (NOx).
[WCC]

[UCC]

Catalytic Converter Repair procedures

Removal
1.
Remove the exhaust manifold.
(Refer to Engine Mechanical System - "Exhaust Manifold")
Installation
1.
Install in the reverse order of removal.

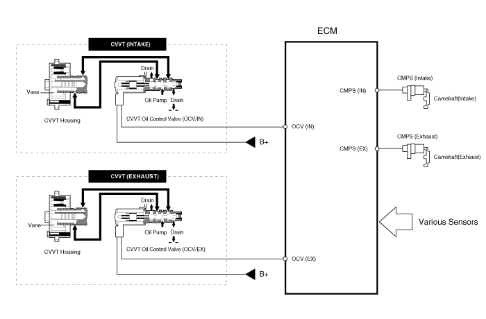
CVVT (Continuously Variable Valve Timing) System Description and Operation

Description
Continuous Variable Valve Timing (CVVT) system advances or retards the valve timing of the intake and exhaust valve in accordance with the ECM control signal which is calculated by the engine speed and load.
By controlling CVVT, the valve over-lap or under-lap occurs, which makes better fuel economy and reduces exhaust gases (NOx, HC) and improves engine performance through reduction of pumping loss, internal EGR effect, improvement of combustion stability, improvement of volumetric efficiency, and increase of expansion work.
This system consist of
-
the CVVT Oil Control Valve (OCV) which rgulates engine oil to and from the cam phaser in accordance with the ECM PWM (Pulse With Modulation) control signal,
-
and the Cam Phaser which varies the cam phase by using the hydraulic force of the engine oil.
The engine oil getting out of the CVVT oil control valve varies the cam phase in the direction (Intake Advance/Exhaust Retard) or opposite direction (Intake Retard/Exhaust Advance) of the engine rotation by rotating the rotor connected with the camshaft inside the cam phaser.

Operation Principle
The CVVT has the mechanism rotating the rotor vane with hydraulic force generated by the engine oil supplied to the advance or retard chamber in accordance with the CVVT oil control valve control.

[CVVT System Mode]

(1) Low Speed / Low Load
(2) Part Load


(3) Low Speed / High Load
(4) High Speed / High Load



Driving
Condition
Exhaust Valve
Intake Valve
Valve
Timing
Effect
Valve
Timing
Effect
(1) Low Speed
/Low Load
Completely
Advance
* Valve Under-lap
* Improvement of combustion stability
Completely
Retard
* Valve Under-lap
* Improvement of combustion stability
(2) Part Load
Retard
* Increase of expansion work
* Reduction of pumping loss
* Reduction of HC
Retard
* Reduction of pumping loss
(3) Low Speed
/High Load
Retard
* Increase of expansion work
Advance
* Prevention of intake back flow (Improvement of volumetric efficiency)
(4) High Speed
/High Load
Advance
* Reduction of pumping loss
Retard
* Improvement of volumetric efficiency

    Fuel Tank Air Filter Repair procedures

    Replacement 1. Turn the ignition switch OFF and disconnect the negative (-) battery cable. 2. Lift the vehicle. 3. Remove the rear-left wheel & tire and house cover...

    Engine Control / Fuel System

    ..

    Other information:

    Hyundai Sonata LF 2014-2019 Service Manual: BLUE LINK Unit Components and Components Location


    C..

    Hyundai Sonata LF 2014-2019 Service Manual: DCT Control Module (TCM) Schematic Diagrams


    1. TCM Connector and Terminal Function 2. TCM Terminal Function Connector [A] PinDescriptionPinDescription1Clutch Actuator (Clutch Motor 1 (ODD)_Phase V)17-2Clutch actuator (Clutch Motor 2 (EVEN) Phase V)18Clutch Actuator (Clutch Motor 1 (ODD)_HALL 1)3Select Actuator (Shift Solenoid 2 (EVEN)_Ground)19Clutch Actuator (Clutch Motor 1 (ODD)_Supply)4Select Actuator (Shift Solenoid 1 (ODD) Push)20Select Actuator (Shift Solenoid 1 (ODD)_Sensor Supply)5Clutch Actuator (Clutch Motor 1 (ODD)_Phase U)21Select Actuator (Shift Solenoid 2 (EVEN)_Sensor Supply)6Clutch Actuator (Clutch Motor 2 (EVEN)_Phase U)22Select Actuator (Shift Solenoid 2 (EVEN)_Sensor Ouput)7Select Actuator (Shift Solenoid 1 (ODD)_Ground)23Clutch Actuator (Clutch Motor 2 (EVEN)_HALL 2)8Select Actuator (Shift Solenoid 2 (EVEN)_ Pull)24Clutch Actuator (Clutch Motor 2 (EVEN)_HALL 3)9Clutch Actuator (Clutch Motor1 (ODD)_Phase W)25Clutch Actuator (Clutch Motor 2 (EVEN)_Ground)10Clutch Actuator (Clutch Motor 2 (EVEN)_Phase W)26Select Actuator (Shift Solenoid 1 (ODD)_Sensor Output)11Select Actuator (Shift Solenoid 1 (ODD) Pull)27-12Select Actuator (Shift Solenoid 2 (EVEN) Push)28Clutch Actuator (Clutch Motor 2 (EVEN)_HALL 1)13Clutch Actuator (Clutch Motor 1 (ODD)_HALL 2)29Clutch Actuator (Clutch Motor 2 (EVEN)_Supply)14Clutch Actuator (Clutch Motor (ODD)_HALL 3)30Select Actuator (Select Solenoid 1 (ODD)_Sensor Ground)15Clutch Actuator (Clutch Motor 1 (ODD)_Ground)31Select Actuator (Select Solenoid 2 (EVEN)_Sensor Ground)16-32- Connector [B] PinDescriptionPinDescription1-35-2-36-3ON / START Input37-4Paddle Shift (Up) Switch signal38-5Inhibitor Switch "P" Input signal39-6Inhibitor Switch "R" Input signal40-7Inhibitor Switch "D" Input signal41Shift Actuator (Shift Motor 2 (EVEN) _HALL 2)8Sports mode "Down" shift42Shift Actuator (Shift Motor 2 (EVEN) _HALL 3)9Clutch Speed Sensor (EVEN) Ground43Inhibitor Switch "M" Input signal10-44CAN1 Communication Port1 High11-45CAN1 Communication Port1 Low12-46-13Shift Actuator (Shift Motor 1 (ODD) _HALL 2)47-14Shift Actuator (Shift Motor 1 (ODD) _HALL 3)48Flex ray High (BP)15-49Input Speed Supply 1 (ODD)16-50Input Speed Signal 1 (ODD)17Battery Power Low VBD 51-18Paddle Shift Down signal52-19Shift Lever Select Switch53-20Inhibitor Switch "N" Input signal54Shift Actuator (Shift Motor 2 (EVEN) _Supply)21Sports mode "Up" shift55Shift Actuator (Shift Motor 2 (EVEN) _HALL 1)22-56Shift Actuator (Shift Motor 2 (EVEN) _Sensor Ground)23Input Speed Supply 2 (EVEN)57Power Ground 1 for High Current Modules245V spare supply output58Power Ground 2 for High Current Modules25-59Shift Actuator (Shift Motor 2 (EVEN)_Phase W)26Shift Solenoid 1 Position Sensor Output60Shift Actuator (Shift Motor 1 (ODD)_Phase W)27Select Actuator (Shift Motor 1 (ODD)_HALL 1)61 Power Ground 3 for High Current Modules28Select Actuator (Shift Motor 1 (ODD)_Sensor Ground)62-29-63Shift Actuator (Shift Motor 2 (EVEN)_Phase V)30CAN2 Communication Port2 High64Shift Actuator (Shift Motor 1 (ODD)_Phase V)31CAN2 Communication Port2 Low65Motor Supply Voltage 1 from Direct Battery32-66Motor Supply Voltage 2 from Direct Battery33-67Shift Actuator (Shift Motor 2 (EVEN)_Phase U)34Flex ray bus, BM68Shift Actuator (Shift Motor 1 (ODD)_Phase U) 3...

    Categories

    read more

     
    Copyright В© 2026 www.hsonatalf.org